尊龙凯时人生就是搏
首页
关于尊龙凯时人生就是搏
企业资质
企业旅行
售后效劳
行业应用
润滑与液压应用
轻质燃油领域应用
输变电工程应用
透平发电领域应用
产品中心
润滑油滤油机系列
汽轮机油滤油机系列
便携式滤油机系列
废油再生处置惩罚装备
抗燃油滤油机系列
离心式滤油机系列
绝缘油滤油机系列
油水疏散器
浮油网络器
配件及检测装备
效劳案例
新闻动态
公司新闻
行业新闻
手艺支持
尊龙凯时人生就是搏滤油机
首页
产品中心
配件及检测装备
油泵
在线咨询
滤油机
油泵
相关文章
配件
滤纸
耐压测试仪
莱宝真空泵
滤芯
上一个:
莱宝真空泵
下一个:
滤纸
相关产品
真空滤油机滤芯怎么用?
滤油机带来的利益有哪些?
变压器绝缘油的种类与作用
润滑油进水了怎么办
液压油滤油机清洁后的油还能用吗?
浅谈聚结疏散滤油机的事情原理
润滑油真空滤油机的装置办法
为什么要对变压器油举行抽注与过滤
离心式净油机怎么选择?
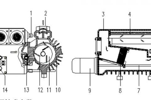
真空滤油机上单级旋片真空泵结构
产品中心
绝缘油滤油机系列
润滑油滤油机系列
透平油滤油机系列
抗燃油滤油机系列
离心式滤油机系列
便携式滤油机系列
配件及检测装备
油水疏散器
废油再生处置惩罚装备
浮油网络器
真空抽气机组
最新产品
真空抽气机组
变压器油真空滤油机
多功效滤油机
透平油聚结疏散滤油机
液压油真空滤油机
聚结式不锈钢滤油机
效劳案例
广东小熊电器股份有限公司
中国南方电网
天盛控股集团混凝土公司
北京安乐科技股份有限公司
手艺支持
工业油水怎样疏散出来?
真空滤油机脱水原理是怎样的?
板框式滤油机手艺指标
真空滤油机怎么选择过滤精度?
电网变压器油的循环使用计划
联系尊龙凯时人生就是搏
13452372176
可微信在线咨询
事情时间:周一至周五,9:30-18:30,节沐日休息
电话
微信
QQ
地图
网站地图